
Embora a empresa nunca tenha sido particularmente tímida sobre suas tentativas de permanecer na vanguarda da tecnologia e dos gadgets, a recente série de pedidos de patentes da Sony e as tentativas de entrar em ramos anteriormente incontestados da indústria não passam despercebidas. O fabricante do PlayStation parece, simplesmente, ansioso para deixar uma marca, e é improvável que isso mude tão cedo.
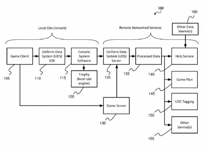
Um dos empreendimentos mais notáveis da Sony é um recurso chamado Spoiler Block Service, conforme descrito no último formulário de envio de patente da empresa. De acordo com ela, a Sony está trabalhando em uma maneira de bloquear potenciais spoilers de conteúdo gerado pelo usuário, o que seria um grande benefício para jogos que possuem uma história mais do que interessante e que acabam tendo partes de seu conteúdo solto nas redes.
Seguindo os passos da patente de jogos em nuvem baseada em navegador da Sony, a suposta funcionalidade de bloqueio de spoilers ainda está nos estágios de conceituação de desenvolvimento, pelo que parece. A patente explica que a Sony deseja “reduzir o estresse sentido por jogadores avessos a spoilers ao se envolver com a comunidade”, e “pretende conseguir isso anexando metadados de algum tipo a objetos específicos em uma determinada instância de conteúdo gerado pelo usuário”.

Idealmente, isso levaria a uma situação em que os spoilers são apagados ou escondidos, de acordo com a patente em questão. A Sony está fazendo tudo o que pode para se preparar para o próximo estágio da mania de streaming de jogos. Alguns podem lembrar que ela apresentou uma patente especial intitulada Modo Auxiliar para espectadores de stream, o que permitiria que eles interagissem com o streamer por meio de opções de jogabilidade contextuais.
Não é impossível que a Sony baseasse seus recursos de bloqueio de spoilers em algum código subjacente que pudesse ser compartilhado entre as diferentes funções patenteadas, conforme descrito nas listagens oficiais.
Um dos grandes trunfos caso a Sony traga todos os seus recursos patenteados exclusivamente por meio de algum tipo de serviço de streaming da marca PlayStation, não é irracional supor que muitos criadores de conteúdo abandonariam plataformas como o Twitch.
Embora isso possa parecer um exagero, as patentes da Sony certamente estão pintando um quadro curioso agora, e a ideia de uma plataforma de streaming PlayStation certamente não é um esforço maior do que a Sony vender equipamentos de jogos para PC. No entanto, é exatamente isso que está acontecendo com a nova marca de hardware Inzone da Sony.
Claro, os recursos patenteados vão demorar um pouco antes de aparecerem no mainstream, se eles forem lançados em primeiro lugar, mas é claro que a Sony tem grandes planos para o futuro.
Via: Game Rant/PlayStation/Screen Rant/Google Patents
Alan Uemura , Observatório de Games.
Fonte: Observatório de Games.
dom, 06 nov 2022 13:54:36 -0300











































