
Uma nova patente da Sony Interactive Entertainment mostra uma tecnologia que permitiria que vários jogadores compartilhassem as entradas de um único controle usando um serviço de jogos em nuvem. A Sony está se inclinando fortemente para tecnologias de jogos em nuvem no momento. O PlayStation 5 vem dominando o mundo dos games, e não parece que a Sony esteja contente em descansar sobre seus louros em meio a esse sucesso.
Recentemente, a Sony revelou seu novo portátil Project Q Remote Play que aparentemente está na prancheta há mais de oito anos. Agora, uma patente recém-publicada pela empresa mostra o que pode ser outra tecnologia muito promissora para o PS5 ou qualquer outra coisa que a dona do PlayStation tenha vindo no futuro.
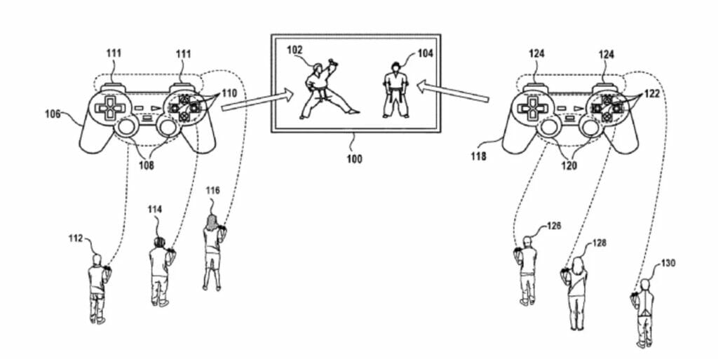
O título da patente da Sony é “Dynamic Allocation of Split Control in a Video Game“, e um diagrama junto com um breve resumo explica melhor exatamente o que essa patente poderia fazer pelo mundo dos games. Essencialmente, essa tecnologia permite que as entradas de um controle sejam divididas entre vários jogadores por meio de um serviço de jogos em nuvem.

Como mostra o diagrama, em um jogo como Street Fighter 6, poderia haver potencialmente um jogador controlando os bastões para o movimento, um outro controlando os botões primários e um controlando os botões de gatilho. Não está claro no momento se esse recurso funcionaria fora dos jogos em nuvem, já que a patente descreve isso apenas como uma tecnologia em nuvem.
Esta patente é extremamente interessante e pode ser um recurso de acessibilidade potencialmente inovador para os jogadores com limitações sobre quantos botões eles podem alcançar em um controle. No entanto, se isso tornará o controle de um personagem mais fácil ou mais complicado é uma boa pergunta.
Em um jogo de luta como Tekken ou Street Fighter, que precisa de uma alta quantidade de coordenação e memorização para conseguir combos longos e cordas de combo, compartilhar um controle pode tornar isso mais fácil como resultado de não ter que memorizar todos os movimentos de um combo. Por outro lado, teria que haver um alto nível de comunicação entre todos os jogadores envolvidos para garantir que os botões sejam apertados na ordem certa.
Quando muito, esta será uma tecnologia extremamente divertida para assistir e participar. Parece provável que várias pessoas tentando controlar um personagem no jogo resultarão em uma bagunça onde ninguém pode concordar sobre o que fazer na maior parte do tempo.
Isso poderia criar alguns momentos bastante hilários se dois ou três grandes criadores de conteúdo se unissem para tentar vencer um jogo difícil como Elden Ring. Vai ser emocionante ver como ou se a Sony finalmente revela essa tecnologia.
Via: Sony/Game Rant
Alan Uemura , Observatório de Games.
Fonte: Observatório de Games.
ter, 06 jun 2023 11:46:46 -0300











































