
Juntamente com hackers, griefing e outros problemas que persistem no mundo dos jogos multiplayer de hoje, trollagem e abuso ainda são um grande problema enfrentado por qualquer um que entra em uma partida casual de seu jogo favorito. Os principais proprietários de plataformas têm trabalhado para remover a toxicidade e a trollagem dos jogos online, com o chefe do Xbox, Phil Spencer, declarando que o Xbox Live é um lugar onde a fala tem seus limites.
No entanto, o monitoramento dessas interações online provou ser incrivelmente demorado, com casos de abuso verbal e trolling precisando ser investigados. Os principais proprietários de plataformas estão trabalhando em uma maneira automatizada de manter a toxicidade no mínimo. Em dezembro do ano passado, a PlayStation patenteou um sistema automatizado para detectar trollagem e jogo perturbador durante o jogo online, embora até agora isso não tenha sido implementado para os usuários.
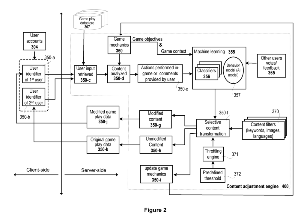
Agora, parece que uma evolução dela está chegando, pois a Sony tem uma patente para um sistema que modificará o conteúdo do jogo para reduzir as interações entre um usuário e o troll. Esta patente permitirá que os usuários tenham filtros de conteúdo, permitindo que eles bloqueiem certas palavras e abusem de outros usuários.

Isso envolve uma transformação seletiva de conteúdo que pode ver a identidade de um usuário oculta. Sem que um agressor possa ver os dados de um usuário, a ideia é que o agressor tenha um nível reduzido de interação com a pessoa que está tentando abusar. Com os dados caindo em mãos erradas sendo uma preocupação de muitos na era digital moderna, parece que a Sony está pelo menos fazendo algo para proteger os dados de seus usuários.
Via: Game Rant/PlayStation/Sony
Alan Uemura , Observatório de Games.
Fonte: Observatório de Games.
sex, 01 abr 2022 11:56:46 -0300











































