
Parece que os consoles da nova geração, o PlayStation 5, poderão em breve receber recursos herdados que foram vistos anteriormente no PlayStation 3. Na maior parte, a Sony é uma empresa que sempre se concentrou mais no futuro do que no passado quando se trata de seus vários consoles da família PlayStation.
Como tal, é normal ver recursos que foram vistos em uma plataforma não serem transferidos em uma transição de hardware. Apesar disso, uma nova patente da Sony parece agora sugerir que a empresa de tecnologia japonesa poderá em breve trazer de volta alguns aspectos populares do PlayStation 3 em grande estilo.
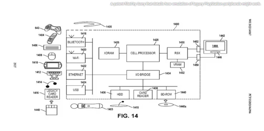
A Sony registrou recentemente uma patente no final de junho de 2022 que sugere que o PS5 pode receber alguns novos recursos importantes de compatibilidade no futuro. Especificamente, esta patente, que é formalmente intitulada “Sistemas e métodos para converter um código legado em um código atualizado”, aborda a capacidade de permitir que periféricos antigos sejam compatíveis em um console PS5 para fins de emulação.

A maioria desses periféricos mencionados está relacionada ao PS3 e inclui o EyeToy, um controle remoto de mídia da Sony, controles DualShock anteriores e até uma plataforma portátil que provavelmente é o PSP Go. Provavelmente, o aspecto mais interessante desta patente é que ela sugere que a Sony poderia tentar tornar esses antigos periféricos compatíveis com o PS5 para fins de emulação do PS3.
Neste momento, o PS5 não é compatível com o PS3 e os jogos daquela época só podem ser jogados no hardware via streaming associado ao PlayStation Plus.
Via: Game Rant/ComicBook
Alan Uemura , Observatório de Games.
Fonte: Observatório de Games.
seg, 04 jul 2022 13:46:37 -0300











































