Observatório de Games.

Uma nova patente da Sony sugere que a Inteligência Artificial está sendo usada para tornar os jogos mais acessíveis aos deficientes visuais. Os videogames estão se tornando mais acessíveis de várias maneiras, e a dona do PlayStation parece estar adicionando um novo método para abrir o meio para mais jogadores.
A Sony continua registrando novas patentes para aprimorar sua tecnologia em todos os aspectos. Incluídos entre as patentes recentes estão o interesse da Sony em tecnologia de servidores MMO, um sistema de aroma de jogos e um controle PlayStation exclusivo. O PS5 e o Xbox Series X/S estão preenchendo a lacuna entre os jogos e os jogadores com deficiência, com o controle adaptativo do Xbox elogiado por muitos.
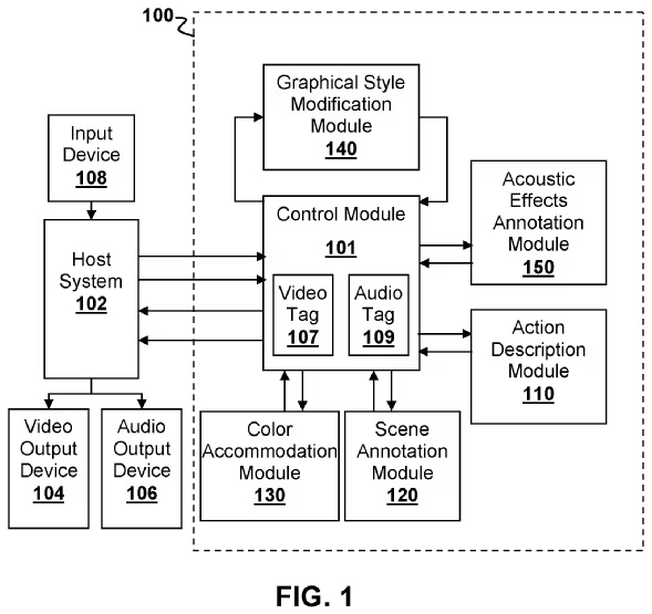
Promovendo a acessibilidade da Sony, uma patente visa tornar os jogos mais digeríveis pelos deficientes visuais. De acordo com uma nova patente da Sony, um “sistema de acessibilidade sob demanda” poderia ser implementado em jogos futuros para ilustrar de forma audível certas cenas para deficientes visuais. Este sistema pode ser ativado por diferentes módulos que fornecem feedback sobre o jogo.

Os módulos incluem um de descrição de ação e de cena, acomodação de cores, estilo gráfico e anotação de efeito acústico. Combinando os diferentes feedbacks acoplados ao controle DualSense, as ações que acontecem na tela podem ser descritas ao jogador por meio de legendas. Este novo sistema pode fornecer aos jogadores com deficiência visual uma representação mais precisa do que está acontecendo do que uma descrição de cada cena de um jogo.
Para que um sistema PS5 descreva as coisas com precisão, uma rede neural, um codificador-decodificador de sistema de componentes e uma memória são usados no processo. A Sony utiliza dados do DualSense, como movimentos do player, alterações de frames, pressionamentos de botões e sinais de áudio reproduzidos pelo alto-falante integrado.
Com base na linguagem da patente da Sony, este novo sistema também pode ser implementado em filmes, programas de TV e música. Como muitas considerações foram feitas pela Sony nesta patente, os jogos de mundo aberto foram analisados. Dada a quantidade de conteúdo em títulos de mundo aberto como Horizon: Forbidden West da Guerrilla Games ou Death Stranding da Kojima Productions, o sistema de acessibilidade pode não se aplicar ao gênero.
Via: Sony/Game Rant
Alan Uemura , Observatório de Games.
Fonte: Observatório de Games.
qua, 23 ago 2023 15:50:57 -0300











































