
A Warner Bros está experimentando uma solução de jogos entre veículos que permitiria que passageiros de vários carros jogassem jogos uns com os outros. De acordo com um pedido de patente recentemente concedido, a Warner Bros. vem pesquisando esse sistema pelo menos nos últimos dois anos. Desde a invenção do rádio do painel até estruturas de software complexas, como Android Auto, Apple CarPlay e Eve for Tesla, o entretenimento no carro existe há mais de um século.
Até agora, esse segmento de mercado evitou amplamente os jogos não casuais, principalmente devido aos desafios técnicos envolvidos em alimentar esse entretenimento de ponta na estrada. No entanto, com o advento do 5G, os avanços dos chips e a inovação, muitas montadoras tradicionais agora estão explorando ativamente a ideia de introduzir videogames em carros. Como se vê, eles não são os únicos.
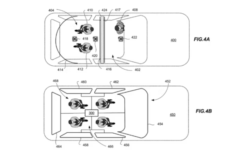
A Warner Bros. solicitou sua patente recém-concedida há dois anos. O arquivamento lida principalmente com um sistema de matchmaking que levaria em consideração o destino do veículo, o tempo de viagem e outros fatores ao procurar jogadores para se conectar. Em última análise, o mecanismo destina-se a oferecer experiências de jogo perfeitas entre passageiros de dois ou mais veículos.

Este desenvolvimento é mais uma indicação de que a Warner Bros. está trabalhando em dispositivos de jogos para carros. No início deste ano, a empresa solicitou outra patente descrevendo um console de jogos completo embutido em um assento de carro, afirmando que a solução é destinada ao uso em veículos autônomos.
A Warner Bros. não é o único partido que procura estender o entretenimento automotivo aos videogames. No mês passado, a BMW se uniu ao AirConsole em um projeto de vários anos destinado a trazer uma variedade de experiências de jogos para sua frota de veículos de luxo, começando com o BMW Série 7 em 2023.
A solução experimental permitirá que os passageiros joguem usando uma das telas dos veículos suportados enquanto usam seus smartphones e tablets como controles sem fio. É verdade que o fato de a BMW também estar introduzindo microtransações em veículos nesse mesmo período sugere que ela não está necessariamente sintonizada com o que os clientes desejam, portanto, resta saber se ela consegue se estabelecer como uma força motriz da inovação no mercado.
Via: Game Rant/Google Patents
Alan Uemura , Observatório de Games.
Fonte: Observatório de Games.
qua, 09 nov 2022 09:30:00 -0300










































